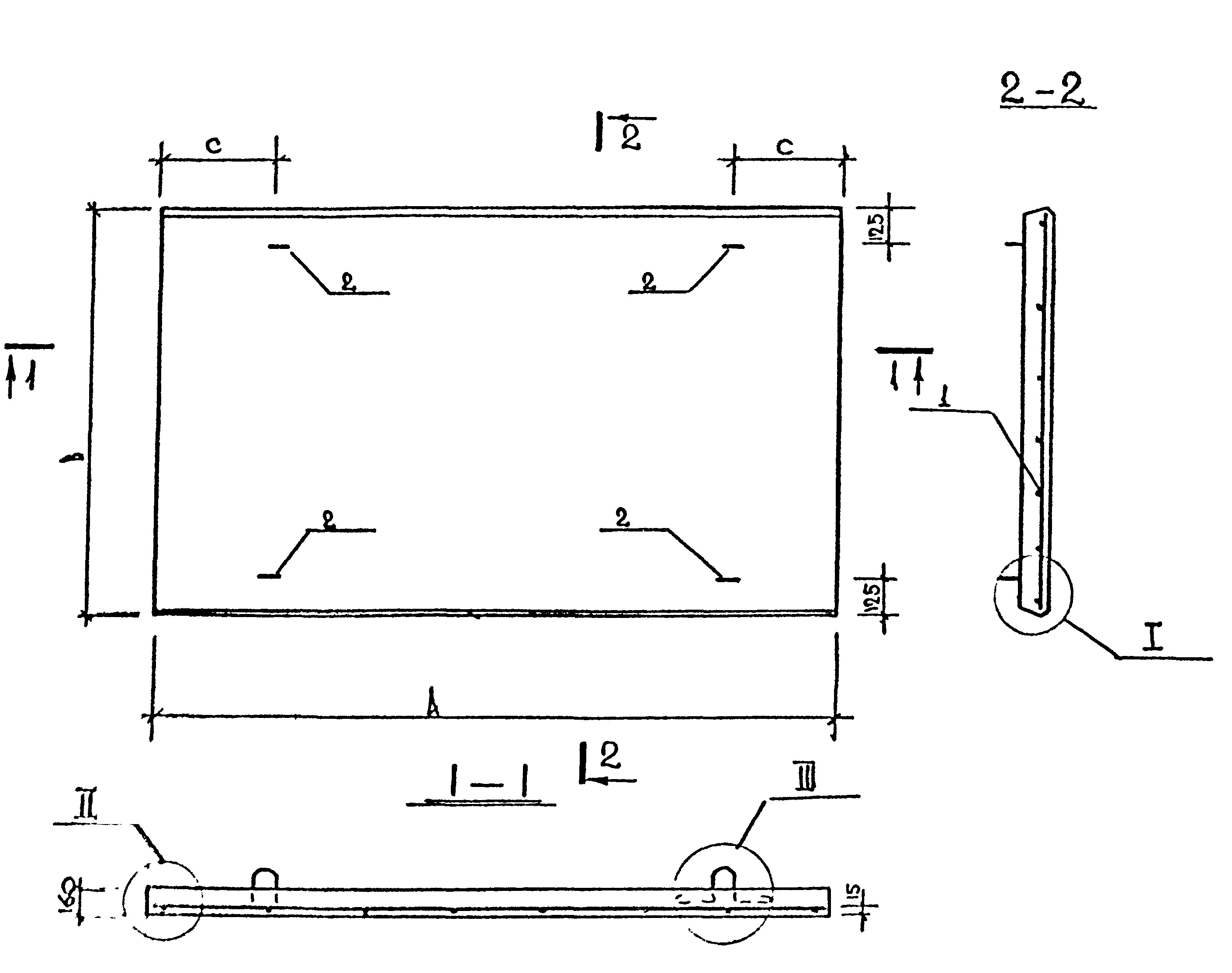
Плита перекрытия П 62-15-10 АIVт с-8 представляет собой сплошную железобетонную конструкцию, предназначенную для использования в строительстве зданий и сооружений. Ее размеры составляют 6200x1500x100 мм, что обеспечивает прочность и надежность при монтаже и эксплуатации.
Плиты перекрытия данного типа широко применяются в строительстве жилых, коммерческих и промышленных объектов. Они используются для создания перекрытий между этажами зданий, обеспечивая необходимую жесткость и надежность конструкции. Плиты перекрытия сплошные удобны в монтаже и обладают высокой несущей способностью, что делает их идеальным выбором для различных типов строительных проектов.









