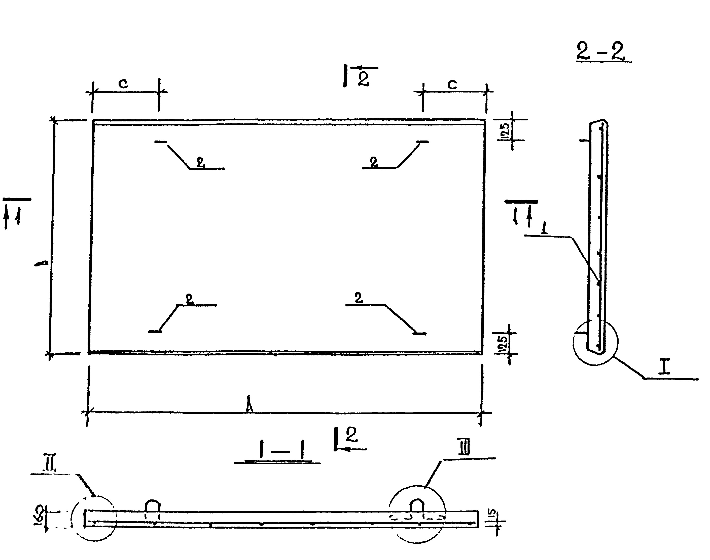
Плита перекрытия П 62-12-6 АIVт с-8 - это сплошная железобетонная плита, предназначенная для использования в строительстве зданий и сооружений. Она имеет размеры 6200x1200x60 мм и класс бетона Вt с-8, что обеспечивает высокую прочность и надежность конструкции. Плита обладает отличными звукоизоляционными и теплоизоляционными свойствами, что делает ее идеальным выбором для перекрытий в жилых и коммерческих зданиях.
Плита перекрытия П 62-12-6 АIVт с-8 идеально подходит для использования в строительстве многоквартирных домов, офисных зданий, торговых центров, складов и других сооружений. Она обеспечивает прочное и надежное перекрытие, способное выдерживать значительные нагрузки. Благодаря своим характеристикам, эта плита является отличным выбором для строительства современных и долговечных зданий.









