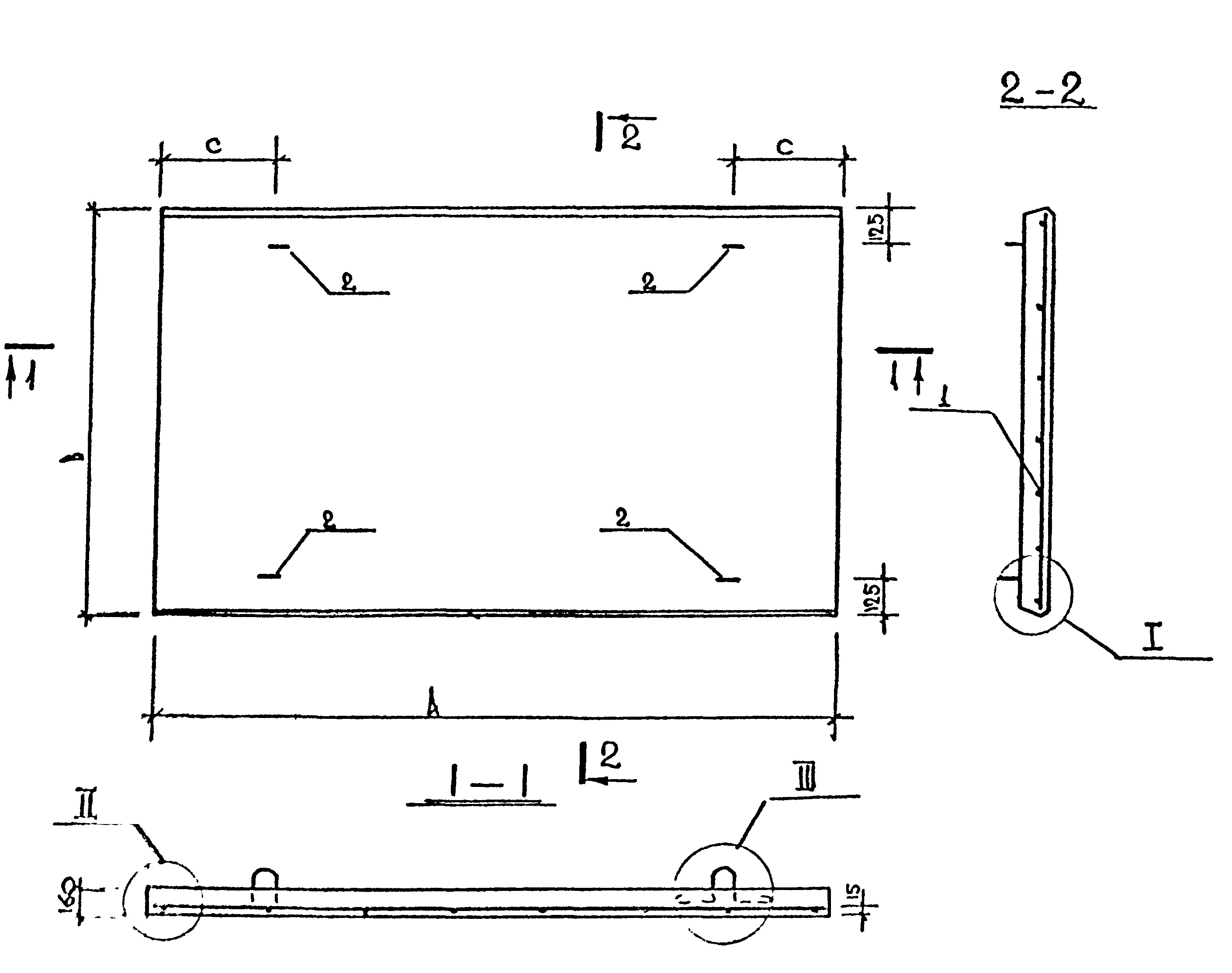
Плита перекрытия П 62-12-10 АIVт с-8 представляет собой сплошную железобетонную конструкцию, предназначенную для использования в строительстве зданий и сооружений. Она имеет размеры 6200x1200x100 мм и класс бетона В25. Плита обладает высокой прочностью и надежностью, что обеспечивает долгий срок службы.
Плита перекрытия П 62-12-10 АIVт с-8 идеально подходит для использования в многоэтажном строительстве, а также при возведении промышленных и складских зданий. Она обеспечивает надежную опору для перекрытий и способствует равномерному распределению нагрузок. Благодаря своим характеристикам, данная плита является отличным выбором для строительства различных типов зданий, где требуется высокая прочность и устойчивость конструкции.









